Сантехника
Мебель для ванной комнаты
Базы под раковину
Зеркальные шкафы в ванную комнату
Комплекты мебели с раковиной
Консоли для ванной комнаты
Пуфы и банкетки для ванной комнаты
Стеллажи для ванной
Столешницы
Столики для ванной комнаты
Тумбы для ванной комнаты
Шкафы и пеналы в ванную комнату
Раковины
Раковины на кухню
Раковины в ванную
Встраиваемые раковины
Накладные раковины
Подвесные раковины
Цветные раковины
Пьедесталы для раковин
Ванны
Ванны отдельностоящие
Ванны встраиваемые
Ванны из композитных материалов
Стальные ванны
Акриловые ванны
Чугунные ванны
Комплектующие для ванн
Подушки и подголовники для ванн
Смесители
Смесители для раковин
Смесители для ванны
Смесители для душа
Смесители для биде
Смесители для кухни
Термостат
Краны для питьевой воды
Комплектующие для смесителей
Изливы
Вентили
Скрытые части смесителей
Встраиваемые смесители
Напольные смесители
Душевая
Душ
Showerpipe
Верхний душ
Душевые гарнитуры
Душевые панели
Ручной душ (душевые лейки)
Боковой душ и форсунки
Гигиенические души
Комплектующие для душа
Душевые поддоны
Комплектующие для поддонов
Душевые ограждения
Ограждения в угол
Шторки на ванну
Ограждения в нишу
Душевая перегородка (walk in)
Боковые стенки
Комплектующие для душевых
Дверные ручки
Петли
Зажимы для стекла
Кронштейны для стекла
Прочее для душевых
Душевые кабины
Инсталляции
Клавиши / Кнопки
Инсталляции для унитазов
Инсталляции для биде
Инсталляции для писсуаров
Инсталляции для раковин
Комплектующие для инсталляций
Биде, унитазы, писсуары
Унитазы
Сиденья для унитазов
Инсталляции для унитазов
Писсуары
Подвесные писсуары
Писсуары с крышкой
Напольные писсуары
Биде
Напольные биде
Подвесные биде
Безободковые биде
Комплектующие для раковин, биде, унитазов
Полотенцесушители
Электрические полотенцесушители
Водяные полотенцесушители
Комплектующие для полотенцесушителей
Обогреватели
Аксессуары для ванной комнаты
Камины
Зеркала для ванной комнаты
Ведра для ванной
Вентиляторы потолочные
Держатели для туалетной бумаги
Держатели для полотенец
Дезинфекторы
Дозаторы
Ершики туалетные
Контейнеры для ватных дисков/палочек
Контейнеры для салфеток
Корзины для белья
Коврики для ванн
Крючки для ванной
Мыльницы
Полки для ванной
Полки-решетки для ванной
Поручни для ванной
Прочие принадлежности для ванной
Светильники для ванной
Стаканы для ванной
Стойки комбинированные для ванной комнаты
Табуреты и сиденья для ванной/душа
Все аксессуары для ванны
Хамам и сауна
Хамам
Сауна
Водосливная арматура
Дренажные каналы, Лотки, Трапы
Сифоны
Сливы-переливы
Донные клапаны
Мини-бассейны
Светильники
Камины
Инженерная сантехника
Плитка
ABK
Boiserie
Poetry Colors
Wide&Style Mini
Crossroad Brick
Porcelanosa
3D
Antique
Artic
Austin
Baltic
Baltimore
Berna
Bottega
Bruselas
Calacata
Cambridge
Cancun
Carrara
Ceppo
Colorado
Coral
Cotto
Deco Marmi
Dolomiti
Dorcia
Dover
Durango
Elegant
Ferroker
Fontana
Gallery
Gasa
Glem
Image
Indic
Karachi
Laurent
Lexington
Liem
Limestone
Linz
Liston Madera
Loft
London
Lucerna
Manhattan
Marbella
Marmi China
Marmol Crema
Massa
Matt
Metropolitan
Minnesota
Mystic
Newark
Newport
Nobu
Noir
Nolita Nyc
Oxford
Persia
Prada
Rivoli
Rodano
Saddle
Samoa
Santorini
Savannah
Sochi
Steel
Tailor
Tanzania
Taranto
Terra
Toscano
Treccia
Trento
Treviso
Vancouver
Velluto
Verbier
Verona
Arcana Ceramica
Croccante
Les bijoux
Natural fusion
Stracciatella
Atlas Concorde
3d wall
3D Wall Carve
3D Wall Plaster
AIX
Aplomb
Arkshade
Arty
Axi
BLAZE
BOOST
Boost Balance
Boost Color
Boost Expression
Boost Icor
Boost Mineral
Boost Mix
Boost Natural
Boost Natural Pro
Boost Pro
Boost Stone
Boost vision
Brave
Brick atelier
Canone inverso
Dwell
Entice
Etic
Etic pro
Exence
Heartwood
Klif
Kone
Lims
Log
Log cansei
Log select
Marvel
Marvel 3d
Marvel Diva
Marvel Dream
Marvel Edge
Marvel epic
Marvel Gala
Marvel Gems
Marvel Meraviglia
Marvel Onyx
Marvel Pro
Marvel Shine
Marvel Stone
Marvel t
Marvel Travertine
Marvel X
Mek
Norde
Nyra
Prism
Raw
Vest
Atlas Concorde Rus
3d white
Allure
Cliff
Drift
EMPIRE
EPOS
FORTE DEI MARMI
Forte dei marmi quark
Forte dei Marmi Rock
Landstone
RINASCENTE
RINASCENTE RESIN
Rive
Supernova onyx
SYMPHONYX
Wine oak
Wise
Casalgrande Padana
Architecture
Beton
Le ville
Marmoker
Marmosmart
Metropolis
Nature
Newood
Onici
Petra
Pietra tiburtina
R-evolution
Stile
Tavolato
Terrazzo
Terrazzotech
Colorker
Althea
Amazonia
Aston
Bella Stone
Boxer
Calacatta Gold
Century
Colonial Soft
Da Vinci
Dhara
Elements
Hamilton
Horizon
Insignia
Kainos
Lakeview
Liberty
Linnear
Luxor
Madison
Modular
Native
Nomade
Noordal
Odissey
Petra Viva
Ragnar
Sky
Solange
Solaris
Sonar
Spectrum
Takara
Verona
Wood Story
Woodside
Zaba
Fap Ceramiche
Bloom
Color line
Color mood
Color now
Deco&more
Fap murals
Fapnest
Frame
Gemme
Glim
Lumina
Lumina sand art
Lumina stone
Maku
Mat&more
Materia brillante
Materia classica
Materia eclettica
Materia pura
Milano mood
Milano&floor
Nativa
Nobu
Nuances
OXIDE
Plein air
Roma
Roma classic
Roma diamond
Roma gold
Roma stone
Roots
Rooy
Sheer
Still
Summer gp
Summer wall tile
True color
Vento del sud
Ylico
Fondovalle
Alpine
Infinito 2.0
Planeto
Res art
Royal travertino
Imola
Azuma
Azuma rock
Azuma up
BLOX
Blue Savoy
Brixstone
Concrete project
Creative concrete
Crew Bitter
Crew Honey
Crew Umami
Elixir
Koshi
Kuni
Lime-rock
Micron 2.0
Muse
Parade
Retina
Stoncrete
The Rock
The Room
Trail
Trail18
Tube
Vibes
X-Rock
Keope Ceramiche
9cento
Arke
Brystone
Discovery
District
Dolmix
Dunstone
Elements design
Elements lux
Evoke
Extreme
Geo
Heritage
Interno4
Journey
Lavica
Limes
Londale
Moov
Noord
Onice keo
Percorsi extra
Percorsi frame
Percorsi smart
Plate
Point
Soul
Street
Swisstone
Syntech
Trevi
Ubik
Unica
Urban
Versilia
Laminam
Blend
Calce
Cementi
Collection
Diamond
DOTS
Filo
Fluidosolido
Fokos
Gemini
Hado
I metalli
I Naturali
In-side
Kauri
Legno Venezia
Moon
Ossido
OXIDE
Rigato
Seta
Slate
Solo
Zen wood
Mirage
Appeal
Bliss
Clay
Cosmopolitan
Dijon
Elysian
Elysian Travertini
Freedom
Glocal
Gyliane
Izumi
Jewels
Jolie
Joy
Kao
Koru
Lemmy
Mand
Motley
Na.me
Nagomi
Noriven
Norr
Nyuma
Oltrenero
Onyce
Oudh
Papier
Plumage
Quarziti 2.0
Reconcrete
Reflet
Regea
Restone
Signature
Silverlake
Terrae
Viceversa
Wanderlust
Zahara
Xlight by Porcelanosa
Aged
Aria
Astana
Aston
Blue Roma
Bottega
Cadore Arce
Calacatta
Cancun
Emerald Green
Ewood
Fiori Di Bosco
Glem
Invisible White
Liem
Limestone
Montreal White
Moon
Nuit
Nylo
Orobico
Oxide Brown
Paonazzo Biondo
Santorini
Stark
Taj Mahal
Taranto
Toscano
Velluto
Vendome
Бренды
О нас
Бренды
Профессионалам
Контакты
8 (495) 165-16-04
О нас
Бренды
Профессионалам
Контакты
Сантехника
Бренды
TECE
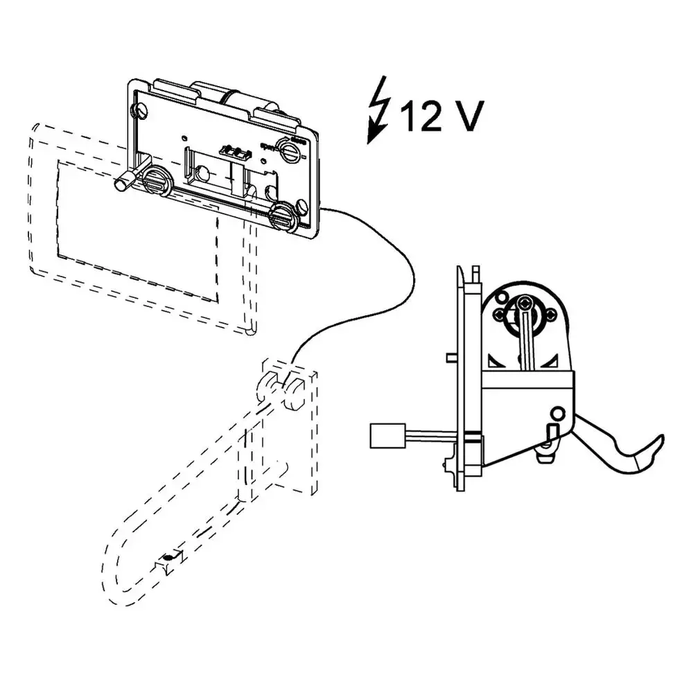
Механизм дистанционной активации смыва унитаза для проводных кнопок Tece
Бренд
TECE
Страна
Германия
72 796